化学反应器有哪些?化学反应种类繁多,性质各异。化学反应器是化工生产的心脏部分,它们往往具有相差甚远的构形和尺寸,如窑炉、锅炉、釜、塔、混合器、高炉、回转窑等
1.釜式反应器釜式反应器也称反应釜或槽型反应器,其结构如图1所示。它主要由搅拌器、罐体、夹套、压出管、人孔、轴封、传动装置和支座等部分构成。
釜式反应器在有机化工生产和精细化工生产中应用十分广泛。不但用于酯化反应、皂化反应这样的均相反应,而且也广泛用于除气相反应以外的几乎所有的反应,如液相、液液相、液固相、气液固相反应等。

图1 釜式反应器
1—搅拌器;2—罐体;3—夹套;4—搅拌轴;5—压出管;6—支座;7—人孔;8—轴封;9—传动装置
2.管式反应器
管式反应器较多用于连续反应,有单管和多管之分,多管中又有多管平行连接和多管串联连接两种形式。几种典型的管式反应器如图2所示。管式反应器广泛应用于气相、液相反应,例如石油烃裂解制乙烯、丙烯,氯乙烯合成、环氧乙烷合成等生产。

图2 几种典型的管式反应器
3.塔式反应器
塔设备除了广泛应用于精馏、吸收、解吸和萃取外,还可作为反应器应用于气液相反应。常见的有板式塔、填料塔、喷雾塔和鼓泡塔。
板式塔和填料塔主要用于两种流体相反应的过程,如气液相反应和液液相反应。
喷雾塔主要用于气液相反应,它使液体成雾滴状分散于气体中。鼓泡塔也是一种塔式反应器,气体以气泡的形式通过液层,用以进行气液相反应。
如图3所示为设有挡板、塔外循环管和换热器的鼓泡塔。

图3 设有挡板、塔外循环管和换热器的鼓泡塔
1-塔体;2-挡板;3-塔外换热器
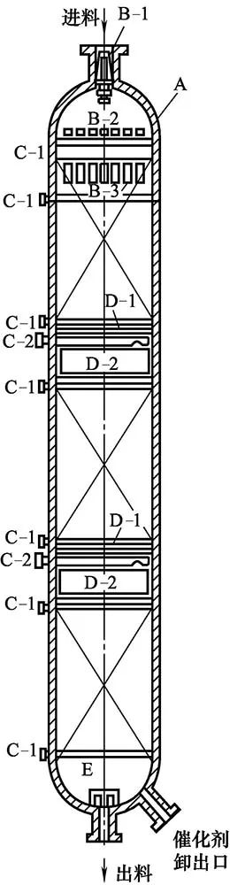
4.固定床反应器
固定床反应器的特点为反应器内填充有固定不动的固体催化剂颗粒或固体反应物,在流体通过时静止不动,主要用于气固相催化反应。固定床反应器结构简单,需要的辅助设备少,操作容易,应用广泛。按反应中是否与外界有热量交换可以划分为绝热式和换热式两大类。
如图4所示为绝热式固定床催化反应器和换热式固定床催化反应器。

图4 绝热式固定床催化反应器和换热式固定床催化反应器
1—矿渣棉;2—瓷环;3—催化剂
5.流化床反应器
流体自下而上通过固体颗粒床层,到流体速度增加到一定程度时,颗粒被流体托起作悬浮运动,这种现象叫固体流态化。利用流态化技术进行化学反应的装置叫流化床反应器。
流化床反应器在工业中的应用可分为催化过程和非催化过程两大类。催化裂化是利用流化床反应器的规模最大的工业生产过程,矿物加工为非催化反应过程,如硫铁矿焙烧、石灰石焙烧等。图5所示为制取环氧乙烷的流化床反应器和工业石灰石煅烧炉。

图5 制取环氧乙烷的流化床反应器和工业石灰石煅烧炉
6.移动床反应器
移动床反应器也是一种有固体颗粒参与的反应器,与固定床反应器的不同之处是固体颗粒边反应边整体移动位置。如固体颗粒为催化剂,则用提升装置将其输送至反应器顶部后返回反应器内。
反应流体与颗粒成逆流,此种反应器适用于催化剂需要连续进行再生的催化反应过程和固相加工反应。如图6所示为移动床反应器。

图6 移动床反应器
7.滴流床反应器
从某种意义上说,这种反应器也属于固定床反应器,当两股流体并流向下通过固定在反应器内的固体催化剂层时,称为滴流床(又叫涓流床)反应器,用于使用固体催化剂的气液相反应。如图7所示为重油加氢滴流床反应器。

图7 重油加氢滴流床反应器
文章内容来源煤化工知库,流程工业整理编辑,责任编辑:胡静,审核人:李峥
版权声明∶转载流程工业网内容,请在正文上方注明来源和作者,且不得对内容作实质性改动;微信公众号、头条号等新媒体平台,转载请联系授权。邮箱∶process@vogel.com.cn,电话:16601379371(同微信)
百度百科对水处理工程师的定义是:水处理工程师又名污水处理工程师,负责工程项目中有关水处理的设计、咨询工作,包括生活污水、部分高浓度有机废水的工艺设计,以及进行相关设施的建设、运营和调试的技术人员。随着环保行业流程化和精细化管理的发展, 水处理工程师不再完全是从头到尾一条龙做到底。很多中大规模的水处理企业对水处理工程师按职责进行分工,比如苏伊士水务工程,水处理技术由方案工程师、设备与工艺工程师、design engineer(画图)、调试几个岗位协同完成。
2024-04-05 环保小蜜蜂
本研究聚焦于化学工程中循环氢化液冷却器(E4104)的检修技术,旨在提出一套针对特定问题(如蒽醌析出和砂眼)的综合检修方案。研究围绕冷却器的漏点问题,提出了包括技术处理、安全管理和工艺改进在内的多方位解决策略。与某设备制造商合作,为本次检修提供了专业支持和指导。研究的核心在于确保检修过程的安全性、有效性和可控性,同时注重环境保护和成本效益。实践证明,所提方案有效解决了漏点问题,提高了设备的性能和可靠性,为化学工程领域的设备检修提供了重要的实践经验和参考。
2024-03-24 付路路、吴彬、孙建伟
很多化工企业因为忽视偏差正常化而经常导致发生一些化学品泄漏、火灾、爆炸等过程安全事故,本文通过具体的案例分析,来帮助大家来辨别和发现我们身边的偏差。针对现场发现的一些在安全领导力和操作程序方面的偏差点,需要公开的沟通以及同时要采取变更管理等工具来识别偏差可能带来的风险,以保持化工装置的安全运行。
2024-03-22 高永宜
2026-05-09
2026-05-07
2026-05-09
2026-05-11
2026-05-06
2026-05-14
2026-04-29
工业是节能降碳的重点领域,也是实现“3060”碳达峰碳中和目标的关键。党的二十大报告明确提出,积极稳妥推进碳达峰碳中和,推进降碳、减污、扩绿、增长,完善能源消耗总量和强度调控,重点控制化石能源消费,逐步转向碳排放总量和强度“双控”制度。为了回顾 2023 年工业企业在节能降碳、绿色可持续发展方面的成就,了解当下的创新技术和应用,《流程工业》编辑部在 2024 年第一期特别策划了“工业碳中和”专题,邀请了一批国内外优秀的工业企业分享观点和产业实践,为广大的流程工业企业提供绿色可持续发展的启迪和借鉴。
作者:本刊编辑部
评论
加载更多